Tuesday, January 27, 2015

Multi Point Fuel Injection

Multi Point Fuel Injection

Catalog #3501 And #3502 STOP! - Performance Depot
True, port (multi-point) fuel injection.In these TBI systems, two injectors are positioned above the throttle blades of a two-barrel throttle body and fuel is injected into the manifold, much like a carburetted system.This arrangement suffers from ... Document Viewer

Multi Point Fuel Injection

Single point fuel injection System Pdf - WordPress.com
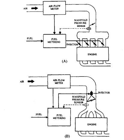
Single point fuel injection system pdf The above fuel injection systems can be grouped under two heads,viz, single-point and multi-point injection. ... Document Viewer

Multi Point Fuel Injection Images

3527, 3528 - Pro-Flo XT EFI - Edelbrock
Installation Instructions Multi-Point Electronic Fuel Injection Pro-Flo XT System #3527 Shown Here ... Get Doc

Multi Point Fuel Injection Pictures

FUEL INJECTION SYSTEM - MULTI-POINT - Gmbowman.com
FUEL INJECTION SYSTEM - MULTI-POINT 1988 Jeep Cherokee 1988 Electronic Fuel Injection JEEP MULTI-POINT 4.0L Cherokee, Comanche, Wagoneer DESCRIPTION ... Content Retrieval

Setting Ignition Dwell And Timing - About.com Auto Repair
Your Auto Repair Questions Answered by your About.com Guide to Auto Repair: Setting Ignition Dwell And Timing. Autos; Auto Repair. Search. Auto Repair Troubleshooting; DIY Repairs; Auto Basics; Share; Share this page on: Your suggestion is on its way! ... Read Article

Multi Point Fuel Injection

StealthRam™ Multi-point Fuel Injection System - Jegs.com
StealthRam™ Multi-point Fuel Injection System Standard and Vortec Intake Versions Part Numbers: 914xxxxx series, 915xxxxx series, 916xxxxx series, ... Fetch Document

Images of Multi Point Fuel Injection

Chapter 4 Part C: Fuel/exhaust Systems - multi-point fuel ...
Fuel/exhaust systems - multi-point fuel injection models 4C•9 4C Warning: During the procedure described in this Section it is very important not to allow fuel to spill into the engine, otherwise a hydraulic lock may occur causing extensive engine damage. ... Fetch Full Source

Pictures of Multi Point Fuel Injection

MPI (Multi-point Fuel Injection) - LIL EVO
MPI (Multi-point Fuel Injection) CONTENTS General.. 2 Servicing standards..3 Special tools ..3 Troubleshooting Cutting off the fuel 4 seconds after the malfunction has been ... Document Retrieval

Multi Point Fuel Injection

Edelbrock/Magneti Marelli Pro-Flo
Edelbrock/Magneti Marelli Powertrain USA, INC Pro-Flo® Multi-Point Electronic Fuel Injection ... View This Document

Images of Multi Point Fuel Injection

Injector (Multi-point Fuel Injection), All Except Y22YH
This multi-point fuel injection system is a conventional fuel injection system with a cut-off control system. In this case, the signal plot only has one voltage spike. ... Get Doc

Multi Point Fuel Injection Photos

3544 - MOPAR Pro-Flo XT EFI - Jegs.com
Installation Instructions Multi-Point Electronic Fuel Injection Pro-Flo XT System #3527 Shown Here ... Fetch Doc

Multi Point Fuel Injection Images

Specification For Main Parts - NGVI Inc
1. DS410 Li ‐ LPG Regulator for 4 Cylinders Model Radium 30L‐STD Gas inlet Female connection with ferrule for Φ6mm pipe – M10x1 ... Fetch Document

How To Repair A Gas Fired Boiler - About.com Home
Gas Fired Hot Water Boiler A hot water boiler is an appliance used to heat water for a hydronic or hot water heating system. The hot water is distributed through the home in pipes and radiate heat into the rooms with either a steel radiator (newer homes) or cast iron radiator (older homes) or ... Read Article

Photos of Multi Point Fuel Injection

MerCruiser 350MAG/300HP MPI 5.7L Inboard (FWC) Complete ...
MerCruiser 350 MAG /300HP MPI 5.7L Inboard Fresh Water Cooled Complete Bobtail Marine Engine ( MPS - USED INVENTORY ) 350 MAG /300HP Multi Port Fuel Injectio Skip Fuel Injection System: Multi-Point Electronic Fuel Injection (EFI) Induction System: 2-Piece Long Runner Intake w ... View Video

Multi Point Fuel Injection Images

1989 Jeep FI Manual - Pirate4x4
4.0 liter multi-point fuel injection (1987-1990 renix system) jeep ... Read Content

Photos of Multi Point Fuel Injection

1 2 3 4 5 Fairly Easy, Fairly Difficult, Difficult, Very ...
Fuel system - multi-point fuel injection engines 4C•3 4C 10.8 Prise the tamperproof cap from the throttle stop screw (arrowed) and adjust as described in text 10.14 Removing the throttle switch connector 10.5 To check the throttle initial position, ... View Doc

Photos of Multi Point Fuel Injection

Internal Combustion Engines
4 Reasons for Gasoline Injection To have uniform distribution of fuel in a multi-cylinder engine To improve the breathing capacity and hence the volumetric efficiency ... Read More

Multi Point Fuel Injection

MULTI-POINT FUEL INJECTION - Turbotbird.com
1988 Cougar/Thunderbird 2.3L Turbo Electronic Fuel Injection System Wiring Diagram YEL FORD MOTOR CO. MULTI-POINT FUEL INJECTION. Title: Untitled-1 Author: B-Real Created Date: ... View Document

Pictures of Multi Point Fuel Injection

Programmed fuel injection - Wikipedia, The Free Encyclopedia
Programmed Fuel Injection, or PGMFI/PGM-FI, is the name given by Honda to a proprietary digital electronic fuel injection system for internal combustion engines which injects the right amount of fuel per cylinder based on specific engine data, available since the late 1980s. ... Read Article

Multi Point Fuel Injection Images

U8 Petrol Injection Systems For Spark Ignition Engines
Petrol Injection Systems for Spark Ignition Engines NQF Level Unit abstract Most modern vehicles are fitted with fuel injection systems that fuel and cooling effects on charge density; injector layout (single point, multi-point, phased and continuous injection); mechanical and ... View Full Source

Multi Point Fuel Injection Images

35000, 35030, 35070 - Pro-flo Efi For Small Block Chevy
Installation Instructions Multi-Point Electronic Fuel Injection Pro-Flo2 System #35000 Shown Here ... Fetch Content

Multi Point Fuel Injection Photos

MPFi V/S CRDi - 123seminarsonly.com
MPFI : mean multi point fuel injection system ie. in petrol engine for gaining more uniform Air Fuel blending fuel is injected at various point in the path of ... Read Here

Pictures of Multi Point Fuel Injection

Gasoline Direct Injection - ROYAL MECHANICAL
GDI GDI Gasoline Direct Injection Introduction Advantages of Fuel Injection over Carburetor Main Components of Electronic Fuel Injection Electronic Fuel Injection Multi Point Fuel Injection Gasoline Direct Injection The Difference Between New GDI And Current MPI Technical features Major ... Get Content Here

No comments:

Post a Comment